Try Out UNBK 2016/2017 Mapel : Teori Kejuruan Teknik Pemesinan-1
Quiz
Dua buah gaya bekerja pada satu titikpusat dengan membentuk sudut 60⁰ (cos 60⁰= 0,5), gaya F1 = 20 N sedangkan gaya F2 sebesar 40 N berapa gaya pengganti kedua gaya tersebut ….
40 N
10 N
20 N
30 N
50 N
Batang baja berdiameter 5 mm ditarik dengan beban 800 kg, maka tegangan tariknya adalah ….
10,19 kg/mm².
20,38 kg/mm².
40,76 kg/mm².
81,52 kg/mm².
160,76 kg/mm².
Arus (I) yang mengalir pada suatu rangkain tertutub akan berbanding lurus terhadap tegangan (V) dan berbanding terbalik terhadap hambatannya ( R). merupakan bunyi dari hukum ….
Ohm
Kirchof
Archimedes
Trigono metri
Tegangan
Alat yang berfungsi sebagai pengganti Platina dalam system pengapian di motor bakar bensin disebut ….
Kapasitor
Distributor
CDI
Busi
Coil
Kemampuan suatu logam untuk menahan beban yang diberikan pada logam tersebut di sebut sifat ….
Mekanik
Fisika
Kimia
Sifat Pengerjaan
Metallurgi
Sebuah baja dengan kode St. 37 apa artinya ….
Baja dengan kekuatan tarik 37 kg
Baja dengan kekuatan tarik 37 kg/mm
Baja dengan kekuatan tarik 37 N/m
Baja dengan kekuatan tarik 37 kg/ mm2
Baja dengan kekuatan tari 37 kg / m2
Alat pelindung dada (welder) dari sinar ultra violet , infra red , percikan api dan panas pengelasan kita sebut ….
Jaket
Sarung Tangan
Topeng
Safety Shoes
Apron
Bagian micrometer yang ditunjukkan oleh tanda panah pada gambar di samping, adalah ….
Landasan
poros ukur
silinder tetap
rangka
gigi gelincir
Hasil pengukuran vernier Caliper pada gambar disamping adalah ….
6,60 mm
5,60 mm
7,60 mm
6,70 mm
5,70 mm
Penyimpanan alat ukur vernier caliper sesuai dengan standar prosedur operasi dan prosedur bengkel adalah ….
Ditumpuk di almari alat setelah dicek
Diatur rapi dan dijadikan satu dengan alat lain
Dimasukkan pada kotaknya setelah bersih
Diatur rapi dekat kikir dan diberi minyak
Diletakkan di atas meja secara berjajar
Penggunaan perkakas tangan berupa hand tap adalah untuk membuat ….
lubang alur segi empat
ulir luar
ulir dalam
ulir segi empat
ulir luar dan dalam
Yang dimaksud dengan kalibrasi sebelum menggunakan alat ukur vernier caliper adalah ….
mengecek kelurusan skala nonius
mengecek kebersihan alat ukur
mengecek ketelitian alat ukur
mengecek panjang material
mengecek ukuran benda kerja
Jika pada gambar kerja (D luar poros) tercantum ukuran Ø 28,50 mm,, maka pengukuran benda kerja yang paling tepat menggunakan alat ukur ….
rugo test
vernier caliper
Plug gauge
Mistar baja
in side micrometer
Pada etiket gambar kerja tercantum tanda artinya adalah ….
Semua permukaan dikerjakan dengan tingkat kekasaran N7
Semua permukaan dikerjakan dengan tingkat kekasaran N6
Permukaan yang tidak dicantumkan tanda N6 dibuat tingkat kekasaran N7
Permukaan yang tidak dicantumkan tanda N6 dibuat tingkat kekasaran N4
Permukaan yang dicantumkan tanda N6 boleh dibuat tingkat kekasaran N4
Yang menjadi acuan dalam menentukan dimensi mesin bubut ….
Panjang jarak antara ujung pusat senter kepala lepas dengan ujung pusat senter kepala tetapdan tinggi jarak antara pusat senter dengan eretan memanjang
Panjang jarak antara ujung pusat senter kepala lepas dengan ujung pusat senter kepala tetapdan tinggi jarak antara pusat senter dengan eretan lintang
Panjang jarak antara ujung pusat senter kepala lepas dan ujung pusat senter kepala tetap dan tinggi jarak antara pusat senter kepala tetap dengan bodi mesin
Panjang jarak antara ujung pusat senter kepala lepas dengan ujung pusat senter kepala tetapdan tinggi jarak antara pusat senter dengan meja mesin
Panjang jarak antara ujung pahat dengan three jaws chuck
Perhatikan gambar salahsatu alat potong untuk proses pembubutan dibawah. Alat potong tersebutdigunakan untuk proses ...
Membuat diameter lubang bertingkat
Membuat diameter luar bertingkat
Menchamper ujung diameter luar
Menchamper ujung diameter lubang
Membuat awalan bor
Agar terjadi proses pemotongan pada saat membubut sebagaimana ilustrasi gambar dibawah, prinsip dasar dalam menentukan arah putarannya adalah ....
Berlawanan arah dengan putaran jarum jam
Searah dengan putaran jarum jam
Berlawanan arah dengan mata sayat alat potong
Berlawanan arah dengan sudut bebas alat potong
Depth yang tipis
Pemasangan pahat bubut diatas pusat senter benda kerja pada proses pengerjaan diameter luar sebagaimana gambar dibawah, akan berdampak padaperubahan sudut yaitu ....
Sudut bebas menjadi lebih kecil dan sudut garuk menjadi lebih besar
Sudut bebas menjadi lebih besar dan sudut garuk menjadi lebih kecil
Sudut bebas menjadi lebih besar dan sudut garuk menjadi lebih kecil
Sudut bebas menjadi lebih kecil dan sudut garuk menjadi lebih besar
Pemasangan alat asal kokoh / kuat
Berikut ini merupakan langkah-langkah dalam proses pengerjaan dengan mesin frais coba anda analisis langkah kerja manakah urutan yang paling tepat ! I. Menyiapkan BK dan peralatan yang dibutuhkan II. Memasang BK pada ragum Frais secara kokoh III. Mengatur putaran spindle sesuai dengan diameter cutter dan bahan BK IV. Mengatur ketebalan pemakanan V. Setting titik nol memulai penyayatan VI. Mengukur BK untuk memastikan ketepatan ukuran
I-II-III-IV-V-VI
I-II-III-V-IV-VI
I-II-III-IV-VI-V
I-III-II-IV-V-VI
I-III-II-V-IV-VI
Jenis pisau frais untuk mesin frais horizontal yang digunakan untuk mengefrais benda yang relative lebar dan panjang….
Dove tail cutter
Side milling cutter
Double angle cutter
Slab milling cutter
Helical milling cutter
Panjang BK yang di frais dengan menggunakan mesin frais holisontal adalah 120 mm, diameter alat potong 60 mm dan kecepatan potong 30 m/men, maka besarnya putaran sumbu utama teoritis adalah ….
80 rpm
159 rpm
318 rpm
636 rpm
1290 rpm
Akan dibuat roda gigi payung (Z) = 18 buah, m = 2,5 dan δ = 45⁰. Putaran engkol pembagi pada kepala pembagi (i = 40:1) adalah ….
2 (4/18) put
1 (4/18) put
4 (1/18) put
4 (4/18) put
0,5 put
RG dengan butiran silicon carbide secara umum digunakan untuk menggerinda BK yang mempunyai tegangan tarik rendah yaitu ….
Besi non ferro, Al, grafit, kuningan dan carbide
Besi tuang,grafit, Al, Kuningan dan carbide,
Besi tuang non ferro, Al, Kuningan, dan Carbide
Besi tuang kelabu, grafit, Al. kuningan dan Carbide
Besi tuang kelabu, Al, kuningan dan Carbide
Sebuah Roda Gerinda berdiameter D = 175 mm mempunyai kecepatan putar 1500 rpm. Hitung kecepatan keliling Roda Gerinda .…
13,74 m/men
187,4 m/men
18,74 m/men
13,74 m/det
18, 74 m/det
Parameter pemotongan RG datar adalah ….
Kecep potong RG dan kecep Putar mesin
Kecep potong RG dan kecep Putar mesin
Kecep keliling RG dan kecep putar mesin
Kecep potong RG, kecep putar mesin dan waktu penggerindaan
Kecep Kell RG, Kecep putar mesin dan waktu penggerindaan
Pembubutan rata/lurus diantara dua senter, jika senter tetap dan senter kepala lepas tidak sepusat akan berakibat ….
Pembubutan konis hasil lurus
Pembubutan lurus hasilnya lurus.
Pembubutan tirus hasil tirus
Pembubutan tirus hasis lurus
Pembubutan lurus hasil tirus
Bila diketahui kerja bubut. Panjang pembubutan (L), panjang awalan dan akiran (la=lu) besar pemakanan (f) dan kecepatan pemakanan (F) maka waktu yang dibutuhkan untuk membubut adalah ….
tm = (L/F)
tm = (F/L)
tm = L/Cs
tm =( L/la+lu)
tm = L/n
Dalam gambar tertulis ф30-H6. Alat ukur yang tepat untuk mengukur tersebut adalah ….
Depth mivrometer
Outside Micrometer
Inside Micrometer
Vernier Caliper (2/100)
Vernier Caliper (5/100)
Sebuah Benda Kerja akan dibubut tirus dengan menggeser eretan atas. Diketahui diameter terbesar (D0 = 58 mm diameter terkecil (d)= 52 dan panjang tirusnya (l) = 60 mm. Maka pergeseran eretan atasnya adalah ….
3⁰ 50 ‘
4⁰51’
3⁰ 05’
2⁰51’
2⁰ 25’
Pada proses pembuatan bahan roda gigi lurus dengan profil involute apabila jumlah gigi yang di buat 40 buah dengan modul 2 mm berapakah diameter luar bahan roda gigi tersebut ….
76 mm
80 mm
82 mm
84 mm
88 mm
Akan difrais sebuah balok dengan ukuran 100 x 15 mm dengan 2 kali jalan. Alat potong yang digunakan EMCF ф 16 mm dengan 4 mata sayat, panjang awal /akhir (la =lu ) = 20 mm besar kecepatan penyayatan (F) = 115 mm/ men. Berapa waktu yang dibutuhkan ….
2,43 men
1,21 men
4,32 men
2,11 men
11,2 men
Untuk mengukur Kedalaman spie 80,50 D10 mm alat ukur yang sesuai adalah ….
Inside micrometer
Jangka bengkok
Rugo tes
Vernier Caliper
Depth micrometer
Akan dibuat sebuah roda gigi helik dengan Z = 20 gigi, modul = 2 mm dan sudut kemiringan = 15⁰. Alat bantu untuk membuat roda gigi tersebut adalah ….
Parallel blok
Dividing Head
T- slot
Kikir halus
Palu
Peristiwa /kejadian yang ditimbulkan karena RG tidak setimbang adalah sebagai berikut kecuali ….
Kualitas hasil gerinda kurang baik
Beban motor penggerak pada MG bertambah berat
Mempercepat keausan pada bantalan RG
Beban yang terjadi pada bantalan tidak merata
RG menjadi bergetar.
Bahan perekat batu gerinda dibawah cocok untuk mengasah benda kerja yang sensitif terhadap panas seperti alat-alat potong ….
Silikat
Shellac
Karet
Tembikar
Bakelit
Kecepatan Kelling Roda Gerinda (POS ) dapat dihitung dengan menggunakan rumus ….
Pos = (3,14.D.n/1000.60) … m/det
Pos = (3,14 D/n.60) … m/det
Pos = (3,14 D.1000./n.60) … m/det
POS =(3,14 D.100/n.60) … m/det
POS =(3,14 D.60/n.100) … m/det
Bagian mesin CNC seperti gambar adalah digunakan untuk….
Pemasangan benda kerja Diujung cekam rahang 3
Pemrograman
Eretan
Pemasangan alat potong
Pemasangan alat ukur
Struktur program CNC sebenarnya adalah…
Urutan pengerjaan
Urutan langkah mesin
Urutan penghalusan
Urutan pengkasaran
Urutan penyayatan
Fungsi dari kompensasi alat potong G03 dimesin Frais CNC adalah ….
Memerintahkan alat potong untuk bergeser melengkung berlawanan jarum jam (CCW)
Memerintahkan alat potong untuk bergeser kekiri garis sejauh diameter alat potong
Memerintahkan alat potong untuk bergeser kekanan garis sejauh radius alat potong
Memerintahkan alat potong untuk bergeser kekiri garis sejauh radius alat potong
Memerintahkan alat potong untuk bergeser kekiri garis sejauh panjang alat potong
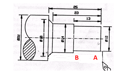
Program mesin CNC yang sesuai untuk gambar kerja berikut dari titik A ke titik B dengan metode absolut adalah…